
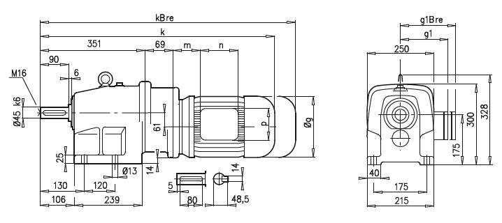
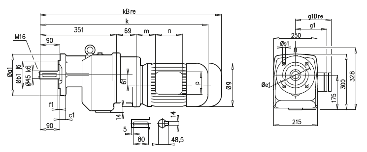
Габаритные и присоединительные размеры NORD мотор-редукторы SK 43, SK 43F |
| |
SK 43

SK 43F

a1 |
b1 |
c1 |
e1 |
f1 |
s1 |
200 |
130 |
14 |
165 |
3,5 |
11 |
250 |
180 |
16 |
215 |
4,0 |
14 |
A45 |
71 S/L |
80 S/L |
90 S/L |
100 L |
112 M |
g |
145 |
165 |
183 |
201 |
228 |
g1 / g1Bre |
124 / 133 |
142 / 142 |
147 / 147 |
169 / 172 |
179 / 182 |
k / kBre |
650 / 708 |
675 / 739 |
716 / 791 |
746 / 837 |
769 / 862 |
m / mBre |
36 / 43 |
41 / 45 |
46 / 50 |
52 / 56 |
68 / 72 |
n / nBre |
100 / 134 |
114 / 153 |
114 / 153 |
114 / 153 |
114 / 153 |
p / pBre |
100 / 89 |
114 / 108 |
114 / 108 |
114 / 108 |
114 / 108 |
|
| |