Общие ведомости запасных частей. Цилиндрические плоские мотор-редукторы Nord серии SK

 

Назад

 

 

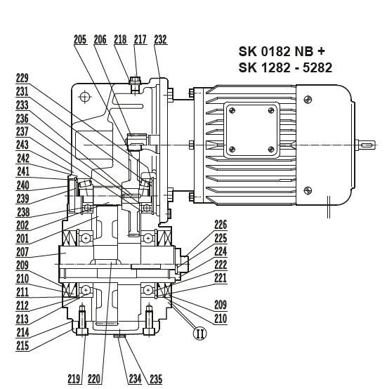
SK 0182 NB + SK 1282 - 5282 201 Ведомое колесо
202 Вал-шестерня
205 Приводное колесо
206 Приводная шестерня
207 Выходной вал (полый вал)
208 Шпонка
209 Манжетное уплотнение
вала
210 Манжетное уплотнение
вала
211 Стопорное кольцо
212 Регулировочный диск
213 Радиальный
шарикоподшипник
214 Прокладка
215 Крышка корпуса
217 Резьбовая пробка
воздушного клапана
218 Резиноасбестовое
уплотнение для масла
219 Винт с цилиндрической
головкой
220 Шпонка
221 Стопорное кольцо
222 Радиальный
шарикоподшипник
223 Защитная крышка
224 Шайба
225 Пружинное кольцо
226 Винт с цилиндрической
головкой
227 Винт с цилиндрической
головкой
228 Прокладка
229 Опорная шайба
230 Крышка редуктора
231 Стопорное кольцо
232 Прокладка
233 Шпонка
234 Резьбовая пробка
235 Резиноасбестовое
уплотнение для масла
236 Опорная шайба
237 Подшипник вала-шестерни
238 Подшипник вала-шестерни
239 Стопорное кольцо
240 Защитная крышка
241 Регулировочный диск
242 Опорная шайба
243 Корпус редуктора 250
Защитная крышка
254 Дистанционная втулка
5 Приводное колесо
6 Приводная шестерня
27 Крепежный винт
28 Прокладка
29 Дистанционная втулка
30 Навесной корпус
45 Радиальный
шарикоподшипник
46 Шпонка
48 Радиальный
шарикоподшипник
52 Стопорное кольцо
53 Шпонка
54 Стопорное кольцо
55 Промежуточный вал,
гладкий
56 Промежуточный вал,
зубчатый
57 Стопорное кольцо
58 Стопорное кольцо
59 Регулировочный диск
60 Стопорное кольцо
61 Стопорное кольцо
62 Резьбовая пробка
63 Резиноасбестовое
уплотнение для масла
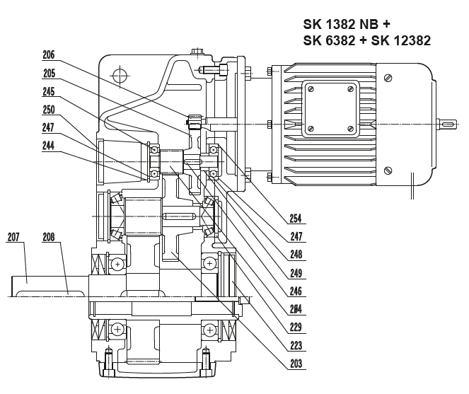
203 Приводное колесо
204 Вал-шестерня
SK 6382 - SK 9382
205 Приводное колесо
206 Приводная шестерня
207 Выходной вал (полый вал)
208 Шпонка
223 Защитная крышка
229 Опорная шайба
234 Резьбовая пробка
235 Резиноасбестовое
уплотнение для масла
244 Стопорное кольцо
245 Радиальный
шарикоподшипник
246 Шпонка
247 Регулировочный диск
248 Радиальный
шарикоподшипник
249 Опорная шайба
250 Защитная крышка
254 Дистанционная втулка
109 Манжетное уплотнение
вала
112 Радиальный
шарикоподшипник
114 Промежуточный фланец
115 Пружинная шайба
116 Крепежный винт
117 Пружинная шайба
118 Крепежный винт
119 Передаточный вал, гладкий
120 Передаточный вал,
зубчатый
121 Втулка подшипника
124 Стопорное кольцо
125 Стопорное кольцо
207 Выходной вал
208 Шпонка
216 Фланец
223 Защитная крышка
251 Усадочный стяжной диск
252 Упор против
проворачивания
253 Винт с цилиндрической
головкой
SK 0282NB + SK 6282 - SK 11282
SK 2382 - SK 5282
SK 1382 NB + SK 6382 + SK 12382
SK 0182NB - SK 11282 SK 1382NB - SK 12382

 

Назад

 
© 2014 Редукторы, мотор-редукторы, устройства плавного пуска, преобразователи частоты