
Габаритно-присоединительные размеры SK 2282 |
| |
|
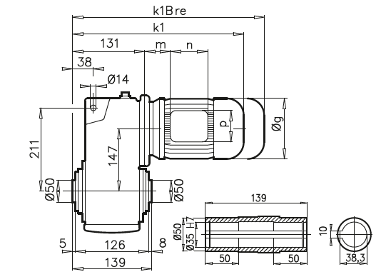
SK 2282A

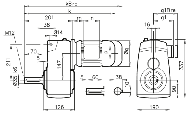
SK 2282V

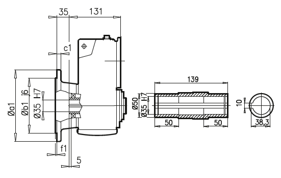
SK 2282AF

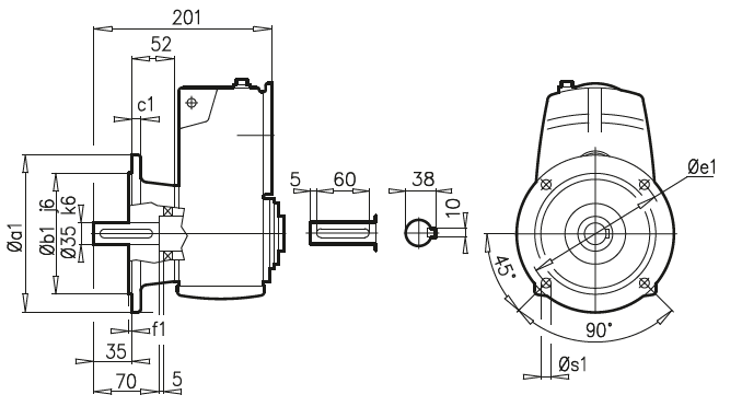
SK 2282VF

a1 |
b1 |
c1 |
e1 |
f1 |
s1 |
250 |
180 |
16 |
215 |
4 |
4x11 |
SK 2282EA, SK 2282AB

| |
71 S/L |
80 S/L |
90 S/L |
100 L |
112 M |
g |
145 |
165 |
183 |
201 |
228 |
g1 / g1Bre |
124 / 133 |
142 / 142 |
147 / 147 |
169 / 172 |
179 / 182 |
k1 / k1Bre |
361 / 419 |
386 / 450 |
427 / 502 |
457 / 548 |
480 / 573 |
k / kBre |
431 / 489 |
456 / 520 |
497 / 572 |
527 / 618 |
550 / 643 |
m / mBre |
36 / 43 |
41 / 45 |
46 / 50 |
52 / 56 |
68 / 72 |
n / nBre |
100 / 134 |
114 / 153 |
114 / 153 |
114 / 153 |
114 / 153 |
p / pBre |
100 / 89 |
114 / 108 |
114 / 108 |
114 / 108 |
114 / 108 |
|
| |